无锡市昌林自动化科技有限公司 主营:气源处理体,控制元件、执行元件、气缸、电磁阀、水阀、机控阀、截止阀、换向阀、液压元件、溢流阀、电液换向阀
咨询电话:1381219989
联系方式
综合业务销售部
联系人:销售部
联系电话:13812199898
公司地址:无锡市会北路28-135号(无锡光电新材料科技园)
Email:2355802921@qq.com
邮编:214000
公司网址:http://www.110055.net
QQ:2355802921
产品展示

XBSC-F40L,XM-F75F,XM-F40L,ZB-75,ZB-40,ZM-75,ZM-40,轴向柱塞泵

  • 如果您对该产品感兴趣的话,可以
  • 产品名称:XBSC-F40L,XM-F75F,XM-F40L,ZB-75,ZB-40,ZM-75,ZM-40,轴向柱塞泵
  • 产品型号:XBSC-F40L,XM-F75F,XM-F40L,ZB-75,ZB-40,ZM-75,ZM-40
  • 产品展商:其它品牌
  • 产品文档:无相关文档
简单介绍

XBSC-F40L,XM-F75F,XM-F40L,ZB-75,ZB-40,ZM-75,ZM-40,轴向柱塞泵

产品描述

XBSC-F75F,XBSC-F40L,XM-F75F,XM-F40L,ZB-75,ZB-40,ZM-75,ZM-40,轴向柱塞泵,生产厂家,价格

概述
  XM-F40L、XM-F75F、TX-F75F斜盘式轴向柱塞马达,是可逆的液压元件。同一元件既可作油马达使用,又可作油泵使用(可直接与ZBD40、ZBD75泵互换使用)。这种马达具有结构紧凑、体积小、重量轻、工作压力高、效率高等优点。它同其它元件(阀、液压缸等)可组成闭式或开式液压系统。适用于工程机械、起重运输机械、建筑机械以及机床、船舶、矿山、冶金等各类机械。
  该马达系精密元件,因此要求合理的使用和仔细地操作与维护。若使用不当,维护**或操作错误,将会引起不应有的损坏或降低使用寿命。为此,希望用户在使用前仔细阅读本说明书。


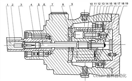
马达外轴(3)同轴承(4)、(6)支承在壳体(7)上,内轴(5)通过花键一端与外轴联接,另一端与缸体(9)花键联接,启动及空载时缸体在弹簧(2)和(11)作用下与配油盘(8)保持一定的油膜接触,缸体另一端用轴承(13)支承在壳体上,缸体孔中有七个柱塞(10),柱塞的球形端部与滑靴(17)球窝包锁,通常在工作时滑靴受油液压力作用与斜盘(18)保持一定的油膜接触,但当自吸启动和转速突然升高时,油靴可能浮起,为了防止这种现象,在内轴端部受弹簧(11)作用的球铰(15)顶住回盘将滑靴压在斜盘表面。





 
注意事项
1、工作条件
  (1)马达的额定工作压力为21Mpa,尖峰压力(*高压力)为28MPa,但工作制度不大于10%,每次延续不超过1分钟。
  (2)工作转速应按技术性能参数所规定的转速运转。
  (3)马达进口管道流速≤2.5~5米/秒,出口管道流速≤1~2米/秒。
  (4)马达正常工作温度范围T=15-65℃,*高不超过70℃(油箱中油的温度)。
  (5)马达上端的油口应按规定的管道通径直接接管回油箱,管道阻力不应使壳体腔内压力超过0.5Mpa。
2、工作介质
  (1)在环境温度15℃以上,可用N32、N46机床液压油,上稠40-2稠化液压油。
  (2)在环境温度15℃以下,可用YH-10航空液压油(-30℃以上),上稠20-1稠化液**(-5℃以上)。
  (3)为了避免马达内部精密零件非正常磨损,因此马达进油或回油系统装有过滤精度高于25μm的精密滤油器。
3、安装
  (1)马达输出端与被驱动机械联接应用挠性联轴节,两轴的同轴度误差不大于0.1毫米。不允许采用链条、万向节等有冲击载荷的传动方式。
  (2)不允许采用使马达传轴受径向力的传动方式。
  (3)马达安装支架或基座应具有足够的刚度,以防振动变形而影响同轴度。
  (4)安装管路及元件时应严格保持清洁。管道内不得有任何脏物混入,在油路中使用的油管,必须经耐压试验,(推荐二倍工作压力),并进行酸洗和表面处理。管路安装完毕后,要另用辅助油泵打循环油进行冲洗,一直到过滤器内无脏物为止。然后把主油泵装上使用。
  (5)注意按传动轴的转向,确定进出油口管路联接方式。
4、运转
  (1)运转前的装备:
    a、检查马达安装是否正确,支架和传动机械的底座是否牢固。
    b、从泄漏油口往壳体内灌满工作油,然后接上泄漏油管。
    c、检查马达的转向与进出油口油管联接是否正确。
    d、马达的回油管路应完全畅通。
  (2)运转中注意事项:
    a、初次使用或长期存放后运转不应立即满负荷启动运转。
    b、根据马达所需转速、调定供油泵的变量偏角。
    c、运转中应注意马达的泄漏量,如发现异常应立即停车检查。
    d、运转过程中应检查油温及外壳温度,如发现温升超过规定范围应立即停车检查。
    e、运转中系统的*高工作压力不得超过28Mpa。
产品留言
标题
联系人
联系电话
内容
验证码
点击换一张
注:1.可以使用快捷键Alt+S或Ctrl+Enter发送信息!
2.如有必要,请您留下您的详细联系方式!
Copyright@ 2003-2026  无锡市昌林自动化科技有限公司版权所有      电话:13812199898 传真: 地址:无锡市会北路28-135号(无锡光电新材料科技园) 邮编:214000